![]() 那个曾经撬动万科、震动格力的“野蛮人”,如今正背负着上千亿元的债务,艰难求生。 02 昔日资本市场“野蛮人”,今背负千亿债务 姚振华的急切,本质上是宝能集团深陷债务泥潭、核心资产面临流失风险的集中爆发。 这份窘迫,与他昔日在资本市场的意气风发判若两人。
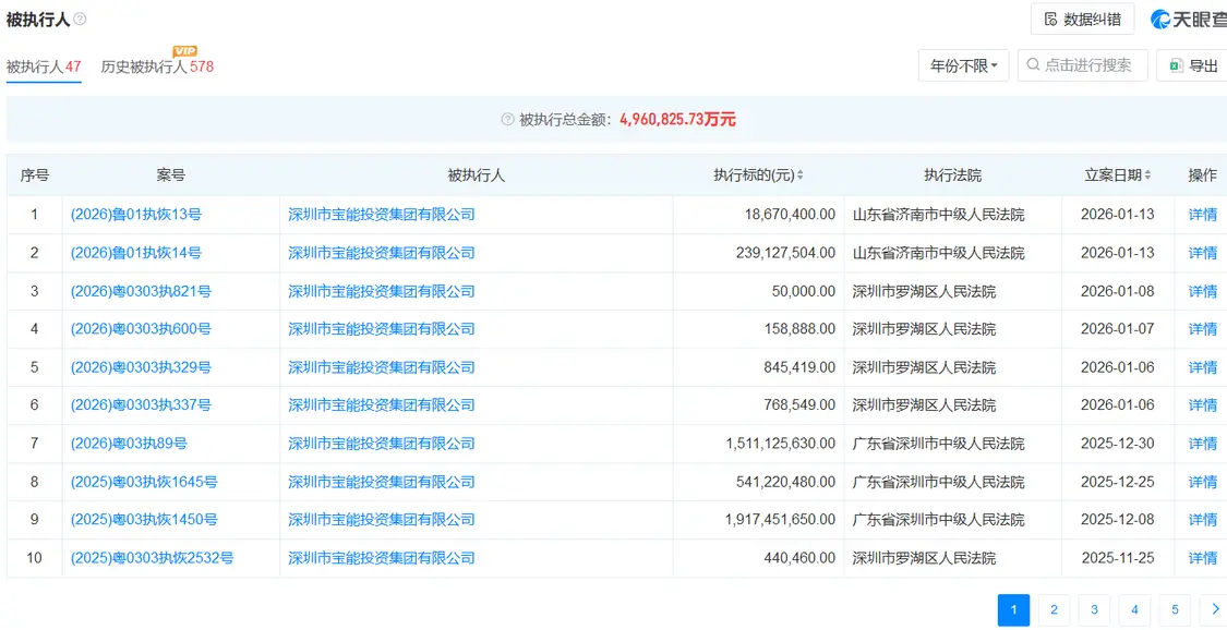
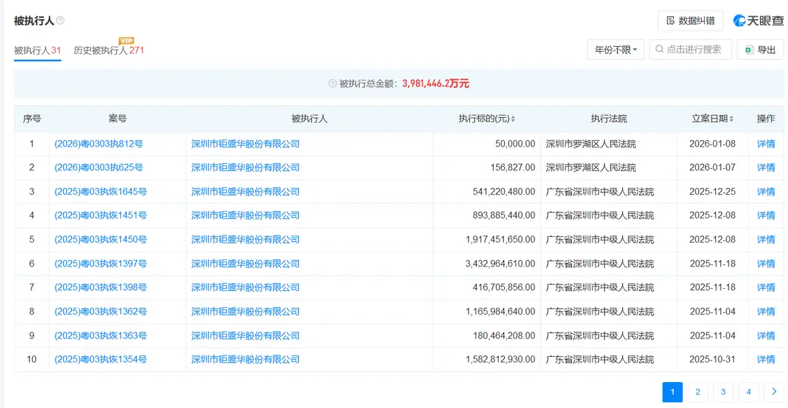
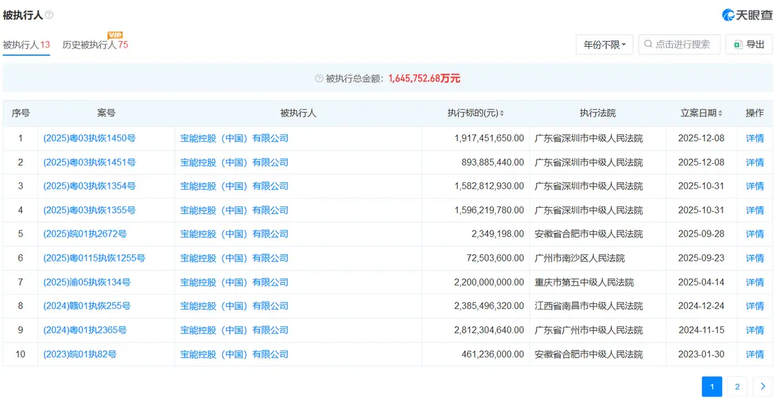
时间回溯至2015年,A股市场震荡之际,姚振华掌舵的宝能系逆势出击,通过旗下前海人寿和钜盛华两大平台,以层层杠杆撬动资金,连续14次举牌万科,累计耗资超323亿元,持股比例一度攀升至25.4%,超越华润成为万科第一大股东。 这场轰动全国的“宝万之争”中,姚振华虽最终未能拿下万科控制权,却通过后续减持获利超500亿元,“资本野蛮人”的标签传遍资本市场,也让他跻身福布斯富豪榜,迎来商业生涯的巅峰。 巅峰之上的姚振华,资本野心持续膨胀。2016年,宝万大战的硝烟未散,他又将目光投向了格力电器。凭借前海人寿的资金优势,宝能系仅用8个交易日便大举增持格力股票,持股比例从0.99%跃升至4.13%,一跃成为格力第三大股东,距离举牌线仅一步之遥,再次引发资本市场震动。 彼时的格力现金流充沛、盈利能力强劲,姚振华的入局被市场解读为又一场“野蛮人入侵”,虽最终因监管收紧及格力管理层抵制未能更进一步,却足以彰显其当年在资本圈的威慑力。 天眼查数据显示,截至目前,仅宝能集团、钜盛华、宝能控股三家核心平台,累计被执行金额合计已高达约1058亿元,其中宝能集团被执行金额496亿元、钜盛华398亿元、宝能控股164亿元。
昔日撬动千亿资产的资本杠杆,如今沦为压垮企业的沉重负担。 单一债务纠纷的判决执行,更让宝能的偿债压力雪上加霜。2025年12月,广东省高级人民法院就上海银行与宝能系旗下深业物流的金融借款纠纷作出一审判决,要求深业物流10日内偿还73亿元本金及相应利息、罚金,姚振华及宝能系多家核心企业需承担连带清偿责任。 这桩源于2018年的旧债,涉及三笔合计73亿元的贷款,分别于2021年、2022年到期违约,逾期时间最长已超4年。法院判决明确,上海银行可优先处置深业物流、宝能地产提供的不动产抵押及租金收入,这意味着宝能系核心优质资产将面临被处置的风险。 尽管宝能城发作为集团综合开发业务核心平台,在2025年展现出一定经营韧性,通过盘活千亿核心资产、推进全国16地项目批次交付实现交付满意度超90%,新疆宝能城、昆明宝能滇池九玺等项目也取得亮眼销售业绩,但这难以覆盖集团整体的债务缺口。 值得注意的是,宝能系的债务困境源于此前激进的多元化扩张,“宝万之争”后,监管部门以“违规运用保险资金”为由,禁止姚振华进入保险业十年,斩断了其核心融资渠道。 然而急于“转型”实业身份的他,斥资千亿收购观致汽车、南玻集团,豪言“10年造车500万辆”,还跨界控股中炬高新布局食品领域,近千亿元的跨行业投入叠加房地产调控收紧、金融监管强化,最终导致资金链在2021年断裂,流动性危机持续蔓延。 从当年挥斥百亿举牌龙头企业,到如今为保住观致资产公开举报,姚振华的境遇转折,恰是杠杆狂欢退潮后,资本泡沫破裂的真实写照。 此次观致汽车核心资产拍卖,成为压垮姚振华的关键一根稻草。 |






















